
FMG—2.2型电动钢轨正能量网站免费观看使用方法
一、结构和工作原理
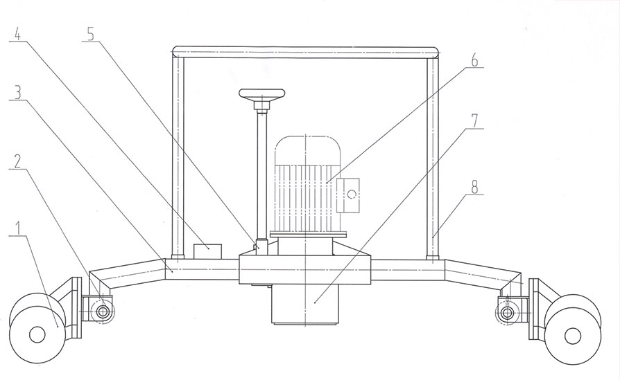
本机主要由机架、护轨轮、仿形轮、电动机、打磨头、进给杆总成、操纵扶手等组成。如图:
1. 护轨轮 2.仿形轮 3. 机架 4. 开关
5. 进给总成 6. 电机 7. 电机传动总成 8. 操作扶手

作业时,电动机输出轴通过花键轴、花键套,带动安装在砂轮接盘上的打磨砂轮旋转。花键套通过轴承安装在进给套内,进给套为矩形螺纹外套,可以沿着机架上的套筒上下滑动。进给手轮通过进给总成的进给小齿轮啮合一个大齿轮,大齿轮为内矩形螺纹零件,大齿轮旋转带动进给套上下往复运动,从而实现砂轮的进给运动。操纵扶手推动正能量网站免费观看在钢轨踏面上纵向移动磨削钢轨踏面。将机架转动相当角度磨削轨头园角,直至转动90°,磨头磨削钢轨工作边。磨削时,调整磨头进给手轮,调整进给量,利用仿形轮和护轨轮共同作用完成轨头仿形打磨工作。
二、使用方法
1. 作业准备
1.1 操作人员在作业前,应按本说明书和要求熟悉本机构造、技术性能、工作原理,使用方法及安全规则;
1.2 机体整备:要求紧固件紧固,运动部件灵活,电气系统绝缘保护可靠,特别注意电机的接地线接地须牢固可靠;
1.3 试运转:点动电气开关,检查砂轮转向,如不符合标志转向,须调整电机接线,使电机正转,同时确认砂轮防护罩防护有效;
1.4 空载动转:空载动转2分钟,检查机体各部位有无异常,尤其更换新砂轮后,须认真检查;
2. 打磨作业
2.1 将正能量网站免费观看放置在需要打磨的钢轨上,电源插头电源插座接触牢靠;
2.2 点动开关,逆时针转动进给手柄,使砂轮与予打磨的轨顶面不接触;
2.3 按下电源开关,砂轮空载旋转;
2.4 均匀地顺时针转动垂直进给手柄,使砂轮向轨顶面移动,直至接触待打磨的轨顶面打出火花,同时牵动手柄,在仿形轮紧靠钢轨顶面情况下,使本机左右往复移动,其范围约800mm.
2.5 均匀控制砂轮的进给量,一般每次0.2mm以内,检查有无异常和磨痕的粗细。打磨后的钢轨表面不得呈蓝色或明显划痕;
2.6 转动手柄时,使机体沿钢轨横断面方向向内侧逐渐倾斜,凭借正能量网站免费观看护轨轮的控制,扩大轨顶横向打磨范围,从轨顶中心线打磨至轨头圆弧处;
2.7 缓慢将操作扶手向操作者倾斜,使正能量网站免费观看沿钢轨横断面方向向内侧转90°,托动正能量网站免费观看往复打磨钢轨的内侧面(工作边);
2.8 作业完成后,反方向转动进给手柄,使砂轮退后脱离与钢轨接触状态,按下断电开关,砂轮机停止转动,将打磨面复位后,抬起正能量网站免费观看,原地水平旋转180°,放置在钢轨上,重复上述动作,即可打磨钢轨顶面剩余部分和钢轨头部的外侧面,直至打磨达到规定标准。